Biến dòng đo lường vuông KDE8660-1250/5-0.5-10 – Sản xuất tại VIỆT NAM
– Mã sản phẩm: KDE8660-1250/5-0.5-10
– Thương Hiệu/ Xuất xứ: KDE/ VIỆT NAM
– Thông số Kỹ Thuật
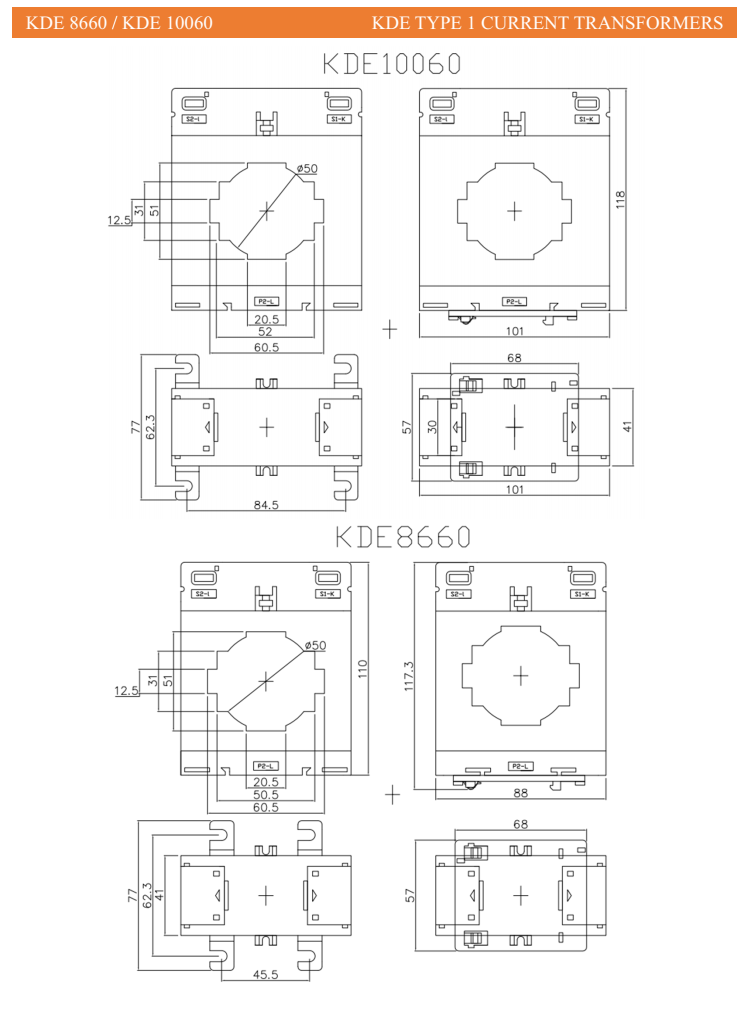
– Loại: Biến dòng đo lường vuông
– Kiểu: Hộp đúc tròn 1 pha sử dụng luồng cáp, thanh cái
– Tỷ số biến dòng: 1250/5A
– Cấp chính xác: Class0.5
– Công Suất: 10VA
– Đường kính lỗ bên trong: Phi 61mm
– Tần số: 50Hz – 60Hz
– Độ bền quá dòng: 60xIn
– Tiêu chuẩn: IEC 60044-1
—-









Nhận xét
Chưa có đánh giá nào.